728x90
반응형
■ 전기 시퀀스 제어 실제 배선도 및 접속도!!
전기 시퀀스 제어는 전력 시스템이나 전기 장비를 효과적으로 제어하고 관리하는 데 사용되는 방법론 중 하나입니다.
- 센서(Sensor): 전력 시스템이나 장비에서 데이터를 수집하는 역할을 합니다. 전류, 전압, 온도 등의 물리적 변수를 감지하고 이를 제어 장치로 전달합니다.
- 제어 장치(Control Device): 센서에서 수집한 데이터를 기반으로 제어 결정을 내리는 장치입니다. PID 제어, 논리 제어 등의 알고리즘이 포함될 수 있습니다. 또한, 제어 장치는 액추에이터를 제어하여 시스템을 원하는 상태로 유지하거나 조작합니다.
- 액추에이터(Actuator): 제어 장치의 출력을 현실적인 동작으로 변환하는 장치입니다. 전력 스위치, 모터, 밸브 등이 있으며, 이를 통해 전력 시스템이나 장비의 동작이 제어됩니다.
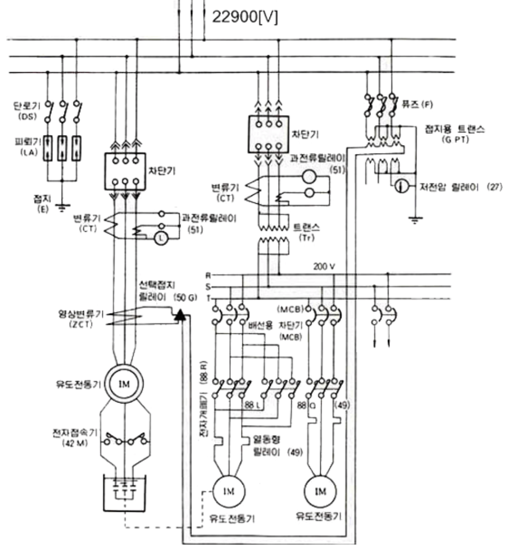
▣ 실제 배선도
- 실제 배선도란 기구나 배선의 상태를 실제의 실물과 동일한 모양으로 그린 배선도를 말한다.
▣ 실체 배선도
- 실체 배선도란 부품의 배치, 배선 상태 등을 실제의 구성에 맞추어 그린고 기구를 전기용 심벌로 표시한 배선도를 말한다. 실체 배선도에는 기기의 구조와 배선 등이 정확히 기입되어 있기 때문에 실제로 장치를 제작하거나 보수 점검할 때에 편리하다. 그러나, 복잡한 회로에서는 계통의 동작 원리 및 순서를 이해하는데 어려운 경우가 있기 때문에 간단한 회로 이외에는 사용하지 않는다.
▣ 이면 배선도
- 이면 배선도는 전자 계전기 등을 배전반에 설치한 후 배선반 이면에 배선 상태를 나타낸 회로도입니다. 전개접속도와 쉽게 대조할 수 있도록 되어 있습니다.
▣ 전기 배선도
⊙ 단선 접속도 (Single Line Diagram)
- 단선 접속도란 전기 기기의 계통과 전기적인 접속 관계를 단선으로 표시한 접속도이다. 주로 발전소, 변전소의 플랜트 등 전기 설비 관계의 계통 구성을 나타내기 위한 전반적인 접속 및 주요 기간의 접속 계기 및 계전기의 접속 등에 사용한다.
⊙ 복선 접속도 (Double Line Diagram)
- 복선 접속도란 CT, PT 등의 접속 및 접지 상태와 전기 기기의 계통과 전기적인 접속 관계를 복선으로 표시한 접속도 이다. 복선 접속도의 장점은 접속 상태를 선의 수대로 표시하고 모든 접속을 그려서 회로의 이해가 쉽다. 그러나 회로도가 복잡해지는 결점이 있다.
★ 참고
- 단선 접속도와 비교해 보기 바라며 설명은 전개 접속도 에서 한다.
- 88 R과 88 L의 결선상태를 확인하고 이해한다.
- CT의 결선 방법과 PT의 결선방법에 주의할 것.
- 42 M 이상이 작동하면 저항이 없어짐을 확인할 것.
- R 상과 T 상에 열동형 게전기(49)의 설치상태를 확인할 것.
⊙ 전개 접속도
(1) 플로우 차트
시퀀스 제어에서는 각종의 기기가 결합되어서 복잡한 회로가 구성되므로 각 구성기기간의 작동 순서를 상세하게 그리면 복잡하여 오히려 전체를 이해하기 어렵게 되는 수가 있다. 이러한 경우 회로의 이해를 돕기 위하여 기호와 화살표로 간단하게 표시하여 동작순서를 나타낸 것이다.
(2) 전개 접속도의 종류
- 상세 전개 접속도 : 제어계의 기기와 장치 등의 접속을 KS C 0102에 정해진 그림 기호를 사용하여 상세히 전개해서 동작 순서 및 배선 상태를 알기 쉽게 그린 접속도이다.
- 간략 전개 접속도 : 제어계의 기기와 장치 등의 접속을 □ 또는 ○ 속에 기능이나 장치의 문자 기호, 명칭 혹은 약호를 표시하여 동작 순서를 알기 쉽게 그린 접속도이다.
(3) 전개 접속도의 번지제 표시
- 접점의 표시 : 전개 접속도의 접점은 KS C 0102에 정해진 그림 기호를 사용하여 소속되는 기구의 문자 기호를 첨부하여 표시하며, 필요에 따라 그 기구가 표시되어 있는 그림 기호의 적당한 위치에 표시한다.
- 번지제 표시 : 제어 모선에 번호를 붙여서 각 계전기 접점이 어디에 사용되고 있는가를 a접점과 b접점으로 구별하여 번호를 표시하는 방법이 번지제이다. 그리고, 제어 모선에 붙인 번호를 번지라고 한다. 이 번지제는 회로의 동작을 조사하기도 하고 보수와 점검할 때에 도움이 된다.
▣ 배면 접속도
- 배면접속도란 배전반 제어반의 뒷면 혹은 내부에 배선되는 전선의 접속 및 그 선종을 나타내는 도면으로서 일명 내부 접속도라 한다. 판상의 표면에 기기를 표면 고정하고 배선을 배면에서 행하는 것이 배면에서 본 배면(내부) 배선도가 실제 배선 작업 및 보수 시 편리하다.
▣ 플로우 차트, 타임 차트
(1) 플로우 차트 (흐름도)
- 시퀀스 제어에서는 각종의 기기가 결합되어서 복잡한 회로가 구성되므로 각 구성기기간의 작동 순서를 상세하게 그리면 복잡하여 오히려 전체를 이해하기 어렵게 되는 수가 있다. 이러한 경우 회로의 이해를 돕기 위하여 기호와 화살표로 간단하게 표시하여 동작순서를 나타낸 것이다.
① 램프 점멸 회로의 시퀀스 회로도(작동 설명)
② 램프 점멸 회로의 플로차트
(2) 타임 차트 (동작 순서도)
- 타임 차트란 시퀀스 제어에 있어서 동작되는 기기 및 기구에 대한 시간적인 변화에 동작 상태를 알기 쉽게 나타낸 도면이다.
- 그리는 방법
- 세로축에 제어기기를 동작 순서에 따라 그린다.
- 가로축에 이들의 시간적 변화를 선으로 표현한다. 제어 기기의 동작이 다른 어느 기기의 작동과 어떤 관계가 있는가를 점선으로 나타내는 수도 있다.
- 기동, 정지, 누르다, 떼다, 닫힌회로 (ON), 개회로 (OFF), 점등, 소등 등의 동작 상태를 타임 차트 위에 또는 아래에 표시한다.
▣ 전기 회로도 및 시퀀스 내용 더 보기
전기전자 Archives - Information Market
전동기(Motor) 전동기 는 전기적 에너지를 기계적 에너지로 변환시켜 회전동력을 얻는 기계로 시동 및 운전이 용이하고, 부하에 적합한 기종을 선택하기 쉽고, 소음 및 진동이 작고, 배기공해도
dailybits.co.kr
728x90
반응형
'STUDY > 전기공부' 카테고리의 다른 글
| 전기시퀀스 제어 기본회로도 (A접점, B접점,C 접점) #7 (0) | 2024.02.18 |
|---|---|
| 전기 시퀀스 제어 그리는법 및 표시법 #6 (1) | 2024.02.18 |
| 전기 시퀀스 제어 개요 와 종류 #4 (0) | 2024.02.10 |
| 자동제어 시퀀스제어 의 기능에 관한 용어 #3 (0) | 2024.02.10 |
| 자동제어 종류 및 시퀀스제어 종류 #2 (1) | 2024.02.10 |










